Сейчас трудно представить себе современное учебное заведение без компьютеров и специального программного обеспечения, предназначенного для разработки конструкторской документации или проектирования различных изделий.
Актуальность обучения молодых специалистов навыкам работы в САПР-редакторах, возрастает из года в год. Российскому пользователю на рынке программного обеспечения в настоящее время предлагается ряд зарубежных и отечественных разработок, одна из которых «Компас-3D» фирмы АСКОН (г. Санкт-Петербург) получила наибольшее распространение, как система, наиболее полно соответствующая выполнению требований ЕСКД. [2]
Система «Компас-3D» состоит из модуля «Компас-График», обеспечивающего эффективную автоматизацию двумерных проектно-конструкторских работ в различных отраслях деятельности, и модуля «Компас-3D», предназначенного для создания трехмерных параметрических деталей и сборок. В каждом из модулей может использоваться система автоматизированной работы со спецификациями и другими текстовыми документами.
Использованию системы «Компас-3D» в учебном процессе способствует легкость его освоения и применения для выполнения большинства учебных заданий как в курсе «Инженерная и компьютерная графика», так и графических работ в других дисциплинах. Наличие большого количества библиотек для генерирования изображений стандартизованных элементов и конструкций освобождает от рутинного вычерчивания таких элементов и необходимости постоянного поиска информации в справочниках. Осваивая работу в «Компас-График» с использованием прикладных библиотек, студенты получают мощный инструмент, способствующий повышению эффективности и качества выполняемых графических работ при курсовом и дипломном проектировании.
Достоинством системы «Компас-3D» является то, что фирма АСКОН выпустила лицензионно-бесплатную версию пакета «Компас-3D V15 Учебная версия» для использования студентами на домашних компьютерах. Эта версия не имеет ограничений по использованию прикладных библиотек и в ней сохранены все возможности коммерческой версии, что значительно сокращает процесс конструирования. [3].
Можно сказать, что внедрение в процесс обучения в КГБПОУ «Ачинский колледж отраслевых технологий» дисциплин, обучающих студентов принципам работы в системах автоматизированного проектирования продиктовано временем.
Например, студенты 2 курса изучают принципы трехмерного проектирования на дисциплине «Компьютерная графика», принципы двумерного проектирования на дисциплине «Инженерная графика». Студентам трехмерная графика интересна с точки зрения построения чертежей на основе твердотельного моделирования по многим показателям - скорости выполнения чертежей, наглядности, комфортности, точности, а также применения знаний в дальнейшем обучении.
В системе КОМПАС-3D все этапы проектирования связаны между собой: изменение и редактирование эскиза или формообразующей операции автоматически приводит к соответствующему перестроению модели и ее ассоциативного чертежа. Именно, за счет этого и можно достичь колоссальной экономии времени и затрат труда на курсовое и дипломное проектирование.
На цикловой методической комиссии специальности 15.01.01 Монтаж и техническая эксплуатация промышленного оборудования (по отраслям) разработано учебно-методическое пособие «Деталирование на основе твердотельного моделирования» [1], которое может быть использовано как для последовательного, так и для параллельного изучения дисциплин «Компьютерная графика», «Инженерная графика». Авторы более 8 лет преподают эти дисциплины с использованием графического пакета «Компас». Авторы сотрудничают с компанией АСКОН и являются сертифицированными специалистами с правом преподавания по системе «Компас-3D» в авторизованном учебном центре АСКОН. Студенты принимают участие в конкурсе «АСы 3D-моделирования».
Назначение учебно-методического пособия – дать студентам эффективную методику выполнения графических работ и автоматизированного создания комплектов конструкторской документации при двумерном проектировании и 3D-моделировании с использованием компьютерного графического пакета.
В первой главе рассматриваются основы работы в «Компас»: интерфейс пакета, работа с документами, основные приемы работы, задание параметров и работа с графическими объектами.
Во второй главе на примерах типовых заданий инженерной графики раскрываются возможности автоматизированного проектирования в «Компас-График».
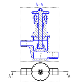
Третья глава посвящена работе в модуле «Компас-3D»: созданию 3D-моделей деталей и ассоциативно связанных с ними 2D-чертежей. Специфику третьей главы рассмотрим на примере работы со сборочным узлом «Клапан». Для работы предложен сборочный чертеж изделия (рисунок 1) и спецификация (рисунок 2). [3]

На все детали, входящие в состав узла, должны быть разработаны рабочие чертежи. Для этого необходимо выяснить назначение, принцип работы, устройство и взаимодействие отдельных частей деталируемого изделия и способы соединения их между собой, ознакомиться с содержанием спецификации, количеством и материалом деталей, входящих в данный узел.
Клапан имеет несложную конструкцию и состоит из восьми деталей и шecти наименований стандартных изделий. Он предназначен для пропускания и запирания потока жидкости. На виде сверху Маховичок (4) показан с обрывом. Это сделано для пояснения формы Крышки (2) и Фланца (3). При вращении Маховичка (4) против часовой стрелки Шпиндель (5) с клапаном (7) поднимается и пропускает жидкость. Утечки жидкости через зазоры между Шпинделем (5) и Крышкой (2) предотвращаются сальниковым уплотнением из колец (14). Уплотнительные кольца поджимаются Фланцем (3), который крепится к Крышке (2) при помощи шпилечного соединения. Герметичность между Корпусом (1) и Крышкой (2) обеспечивается Прокладкой (8).
Установим следующие материалы деталей: Корпус, Крышка, Фланец - СЧ18 ГОСТ 1412-85; Маховичок - полиэтилен ВД ГОСТ 16337-77; Шпиндель, Втулка, Клапан - сталь 40 ГОСТ 1050-88; Прокладка – паронит ПОН ГОСТ 481-80.
Рекомендуется начинать деталирование с наиболее простых деталей. В деталируемом изделии «Клапан» такими деталями являются Втулка (6), Клапан (7) и Прокладка (8).
Втулка и Прокладка соединяются друг с другом при помощи резьбы. Контуры этих деталей хорошо определяются штриховкой на фронтальном разрезе, можно предположить, что эти детали представляют собой тела вращения.
Втулку и Клапан целесообразно расположить в пространстве горизонтально, повторяя технологический процесс их изготовления, т. е. так, как они зажимаются в патрон токарного станка.
Для создания трехмерных моделей с помощью графических пакетов требуется предварительное составление эскиза, который определяет параметры формы каждого тела и функционального элемента, а также их взаимное расположение. На этом этапе осуществляется связь теоретических основ инженерной графики и компьютерного 3D-моделирования.
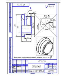
Создание моделей и чертежей деталей более подробно покажем на примере детали Втулка.
1.Создание модели Втулки
1) Создаем файл типа Деталь и сохраняем его в выбранной папке, например, как "Втулка".
2) В плоскости ХУ создаем эскиз Втулки (рисунок 3). В эскизе предусматриваем размер цилиндрической поверхности под резьбу М30х1. Размер отверстия во Втулке должен быть не меньше наружного диаметра ходовой резьбы Шпинделя, т. е. не меньше 24 мм.
3) Применяем к эскизу операцию вращения (рисунок 4).
4) Формируем фаску на торце втулки 1х450.
5) Формируем проточку (канавку) для выхода резьбонарезного инструмента (рисунок5). Канавка по ГОСТ 10549-80(выход резьбы).
Рисунок 5 – Диалоговое окно Канавка по ГОСТ 10549-80 (выход резьбы)
После ряда действий система автоматически построит канавку для выхода резьбонарезного инструмента со стандартными параметрами (рисунок 7).
6) На наружной поверхности Втулки создаем изображение резьбы, используя командуУсловное изображение резьбы. После ряда действий - Создать объект, и система отрисует резьбу на наружной поверхности Втулки (рисунок 7).

Рисунок 6 – Панель свойств детали Втулка
7) На Панели свойств в поле Обозначение вводим КГ 02 06, в поле Наименование - Втулка (рисунок 6). Задаем цвет (например, синий) и выбираем из списка материалов Сталь 40 ГОСТ 1050-88. Модель втулки выполнена (рисунок 7).

Рисунок 7 – Модель Втулки
2. Создание рабочего чертежа Втулки
Сначала выполняем ассоциативный чертеж Втулки. Поскольку во Втулке имеется сквозное отверстие, и она является симметричной фигурой, то целесообразно выполнить соединение половины главного вида и половины фронтального разреза.
1) Создаем новый файл типа Чертеж формата А4 и сохраняем его с тем же названием "Втулка". Вызываем команду Стандартные виды. Выбираем модель Втулки для построения ассоциативного чертежа.
2) В окне Схема видов отменяем построение вида сверху. Вид слева понадобится для построения разреза. Задаем масштаб (например, 2,5: 1).
3) Два ассоциативных вида Втулки готовы (рисунок 8).
4) На половине главного вида выполняем фронтальный разрез. На виде слева указываем положение следа секущей плоскости. Система выполнит построение половины разреза детали.
5) выбираем команду Погасить для вида слева. Вместо вида останется его габаритная рамка (она не выводится на печать).
Рисунок 8 – Ассоциативные виды Втулки
6) Активизируем команду Выносной элемент и ограничиваем проточку окружностью. Задаем масштаб выносного элемента 5:1. Щелкаем в окне документа для построения выносного элемента (рисунок 9) .
Рисунок 9 – Создание выносного элемента [4]
7) Пользуясь обычными приемами КОМПАС-График, завершаем выполнение рабочего чертежа Втулки в соответствии с требованиями ЕСКД. Наносим осевую линию. Проставляем размеры и их предельные отклонения. Наносим шероховатость поверхности. Компонуем положение изображений Втулки на чертеже. Вносим технические требования. Заполняем основную надпись. Изменяем масштаб чертежа на 2,5:1. В основную надпись системой автоматически будут занесены обозначение, наименование, материал детали, количество листов. Рабочий чертеж Втулки готов (рисунок 10)

Рисунок 10- Рабочий чертеж Втулки
Согласно данному алгоритму выполняются рабочие чертежи всех деталей.
В четвертой главе рассмотрена методика создания 3D-сборок и получения на их основе комплектов конструкторских документов на изделие (сборочный чертеж, спецификация).
3. Сборочная модель Клапана
Для оценки правильности выполненных построений в завершении деталирования выполняют так называемую контрольную сборку - сборку, создаваемую по готовым чертежам составных частей, с целью контроля собираемости изделия, обнаружения случайных ошибок компоновки и проверки соответствия размеров сопрягаемых поверхностей деталей, а также размеров поверхностей под крепежные элементы.
Построение проводим способом Снизу вверх, вставляя готовые модели деталей в модель сборки.
1) Создаем документ типа Сборка и сохраняем его, например, как "Клапан".
2) На Панели свойств сборки вводим ее обозначение "КГ 03 00 СБ" и наименование "Клапан".
3) Первым (базовым) компонентом сборки выбираем корпус Клапана. Относительно него будем задавать положение остальных компонентов.
4) Устанавливаем ориентацию Изометрия XYZ. Активизируем команду Добавить из файла. Выбираем документ Корпус. Открываем. В окне документа указываем точку вставки Корпуса - начало координат сборки. Щелкаем мышью. Деталь Корпус вставлена в Сборку.
5) Последовательно добавляем в Сборку (рисунок 11) следующие компоненты – Клапан, Шпинель, Втулку, Прокладку, Крышку, Кольца, Фланец, Шпильки, Шайбы, Гайки, Маховичок, Шайбу, Гайку, используя команды Сопряжения - Совпадение, Соосность и другие, получаем Сборку Клапана (рисунок 12).

4. Создание ассоциативного чертежа Клапана
На сборочном чертеже должны быть изображены: на месте главного вида - фронтальный разрез и вид сверху.
1) Создаем документ типа Чертеж (формата А4) и сохраняем его как "Клапан".
2) Для открытия выбираем файл, содержащий трехмерную Сборку Клапана.
3) Сначала создаем один вид – вид сверху, на Панели свойств задаем масштаб 1:2. Остальные параметры без изменений, система построит ассоциативный вид сверху;
4) Выполняем фронтальный разрез (рисунок 13).

Рисунок 13 – Ассоциативный чертеж Клапана [4]
5) Завершается выполнение сборочного чертежа: редактируется чертеж, чтобы он выглядел так, как показано на рисунке 1. Сборочный чертеж Клапана представлен на рисунке 14.

Рисунок 14 – Сборочный чертеж Клапан
5. Спецификация к сборочному чертежу Клапана
Спецификация создается в полуавтоматическом режиме с увязкой всей информации о сборочном изделии. Передача объектов спецификации из модели в чертеж и спецификацию возможна благодаря возникновению ассоциативных связей между этими документами.
Составные части сборочного изделия подключаются к объектам спецификации, что позволяет управлять документами прямо из спецификации, которая является основным конструкторским документом, определяющим его состав. Включив режим просмотра состава объектов (рисунок 15), получается очень удобное представление графических данных: при выделении строки спецификации на чертеже хорошо просматривается как сам объект, так и его линия-выноска (подсвечиваются зеленым светом), а также открыт документ Компас-деталь (модель Корпуса).

Рисунок 15 – Режим просмотра состава объектов спецификации [1]
Использование твердотельного моделирования в КОМПАС помогает быстрее понимать конструкции деталей и качественно выполнять чертежи, но не освобождает от изучения ГОСТ и применения стандартов, которыми следует руководствоваться при создании, например, резьбовых соединений и оформления конструкторской документации на детали, сборочные единицы. [2]
В современных конструкторских бюро проектирование осуществляется по схеме: модель - ассоциативный чертеж - спецификация, и именно такая схема реализована системой КОМПАС-3D, и именно по такой схеме разработано учебно-методическое пособие "Деталирование на основе твердотельного моделирования".
Таким образом, применение САПР-технологий в подготовке специалиста позволяет увеличить эффективность обучения за счет получения навыков работы с КОМПАС-программой, позволяющих студентам самостоятельно создавать чертежи и модели любой формы и конфигурации на экране монитора посредством инструментария систем автоматизированного проектирования.
Полученные навыки и знания на занятиях инженерной и компьютерной графики формируют профессиональные компетенции и повышают квалификацию будущих специалистов для дальнейшей их профессиональной деятельности.
Р.
И. Рылова